7月23日上午,長城汽車發布了35周年的高管合照,不過不同于傳統公司合照老總站C位的情況,在這張照片中占據C位的并不是長城老總魏建軍,而是這輛蓋著黑色幕布的神秘超跑,它究竟什么來頭?竟比魏總還有排面!


首先從外觀來看,長城這臺超跑車身非常低趴且修長,輪拱也很寬,乘員艙基本位于整臺車的中間位置,是很純正的中置引擎超跑的布局,配合雕塑一般的流暢線條,不禁讓人想起了帕加尼!
并且即便蓋著黑色幕布,我們也能清晰看到它前艙蓋有兩個挖孔,不用想肯定是真挖孔!前臉圓潤的的頭燈與保時捷有幾分相似,而門板后方的空氣動力學設計又酷似邁凱倫GT,看樣子應該是個玩空氣的好手,反正外形這塊,長城這個超跑是真對味了。


動力上,這臺超跑肯定會搭載長城在上海車展公布的那臺4.0T V8雙渦輪增壓發動機,最大馬力549匹,最大扭矩770N.m,當然身為一臺超跑,除了大馬力,輕量化也是重中之重,那肯定少不了碳纖維了,正好此前長城也獲得了一項實用新型專利授權,專利名稱為“內芯、碳纖維車身組件和車輛”,估計就是為了這臺超跑準備的!


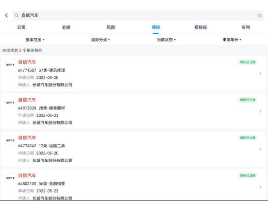
那么還有一個問題是,這臺超跑會掛什么牌子呢?這就不得不提長城在1月設立的長城品牌超豪車BG了,這可是魏總親自掛帥當董事長,或許就是此前盛傳的“自信汽車”,定位超豪華品牌,并且之前就有人拍到過魏總開法拉利SF90,看來長城是真的準備給咱造一臺國產法拉利了啊!
總結:
長城高管合照中的這臺超跑可謂相當搶眼,光是自研的4.0T V8加上碳纖維車身就足夠讓人心潮澎湃了,我們雖然已經有仰望U9這樣的純電超跑,也有小米SU7 Ultra這樣的純電性能車,但是傳統內燃機超跑對于國產廠商仍是空白,長城能有這樣的執念真的值得點贊,我甚至已經開始期待它在紐北賽道馳騁的樣子了,希望能早日一睹它的真面目!